
Las bombas de freno o cilindros maestros son un componente vital para la seguridad de nuestro vehículo. Gracias a la bomba de freno y a la fuerza que el líquido de frenos ejerce sobre los diferentes elementos del sistema de frenos logramos detener el vehículo.
En este post de Frenkit, vamos a descubrir cuáles son los diferentes tipos de bombas de freno o cilindros maestros y cada uno de sus componentes. Pero antes, recordemos la definición de bomba de freno o cilindro maestro:
"La bomba de freno o cilindro maestro es el componente encargado de presurizar el líquido o mantener la presión por todo el circuito hidráulico del vehículo".
Tipos de bombas de freno o cilindro maestro
Puede que hayamos visto, en alguna ocasión, distintos tipos de bombas de freno muy diferentes unas de otras. Sin embargo, tenemos que saber que todas ellas funcionan de manera muy similar.
Las bombas o cilindro maestro pueden ser de dos tipos: bomba de freno sencilla (de cámara simple) y bomba de freno tándem (con dos cámaras).
A su vez, distinguimos dos modelos según la construcción del cilindro maestro: bomba de freno sólida y bomba de freno compuesta. La primera, la bomba de freno sólida, está formada por una única pieza; mientras que la bomba de freno compuesta viene con el depósito separado.
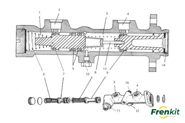
Bomba de freno sencilla
Las bombas sencillas se alimentan del líquido del depósito, que pasa por el cilindro maestro y acaba llegando a los conductos de freno. Dentro de la bomba de freno sencilla está el émbolo o pistón que es el encargado de generar la fuerza hidráulica mediante la fuerza que ejerce el conductor sobre el pedal de freno.
Cuando la fuerza en el pedal de freno desaparece, el émbolo vuelve a su posición inicial por la acción de un resorte.
Las piezas de las cuales se compone la bomba de freno o cilindro maestro sencilla son:
- Cilindro.
- Válvula de doble acción.
- Goma primaria.
- Pistón.
- Goma secundaria.
- Seguro.
- Guardapolvo.
- Depósito.
- Puerto de salida de líquido.
- Varilla de empuje.
- Cámara.
- Orificio de compensación.
- Cámara.

Bomba de freno tándem
La bomba de freno tándem, compuesta por dos pistones colocados uno a continuación del otro, permite conseguir una mejor distribución cuando frenamos nuestro vehículo, ya que cada circuito se encarga de un par de llantas. Estas cámaras se accionan con ayuda de dos émbolos.
Podemos encontrar varias distribuciones, aunque la más común es en forma de X, en donde la rueda delantera de un lado está conectada con la trasera del otro o viceversa. Puede ocurrir que uno de los dos circuitos no funcione correctamente: en ese caso, el otro circuito todavía puede funcionar para conseguir detener el vehículo. En esta situación, la distancia a la hora de frenar se incrementa considerablemente.
Con respecto a las piezas que componen la bomba de freno tándem encontramos:
- Pistón primario.
- Pistón secundario.
- Tornillo de ensamblaje del pistón primario y que también sujeta la caja de posicionado del muelle.
- Guía del muelle de recuperación.
- Muelle de recuperación primario.
- Muelle de recuperación secundario.
- Arandela de seguridad y copela primaria del circuito primario
- Arandela de seguridad y copela primaria del circuito secundario.
- Copela secundaria del circuito primario
- Copela secundaria del circuito secundario.
- Copela de estanqueidad entre el circuito primario y secundario.
- Tornillo con junta de cobre.
- Tope de reposo del pistón secundario.
- Clip y arandela de tope.

A modo de conclusión, podemos señalar que el cilindro maestro es el elemento clave encargado del sistema de frenado de nuestro vehículo. Por eso, es imprescindible conocer tanto su funcionamiento, como las partes que lo componen.
En Frenkit somos una empresa especializada en recambios de freno y en componentes de bombas de freno. Contamos con un catálogo con más de 9.000 referencias que distribuimos en más de 50 países. Accede a nuestra página web y descubre nuestra tienda online con una gran variedad de recambios para tu vehículo. Lee también nuestro artículo sobre los tipos de embrague.


![[Descubre qué es mejor, si reparar la pinza de freno del coche o cambiarla]](https://no-cache.hubspot.com/cta/default/7520036/71b5330a-917b-402b-a71c-5dc971da643c.png)
